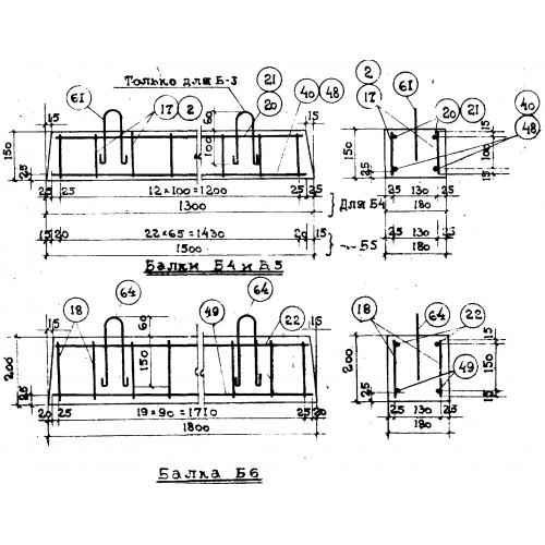
Б-5

Чертеж изделия:
Характеристики изделия:
ПараметрЗначение
длина1500 мм
ширина180 мм
высота150 мм
вес106 кг
серияТС 01-01

Б 5 Балки перекрытия по серии ТС 01-01.