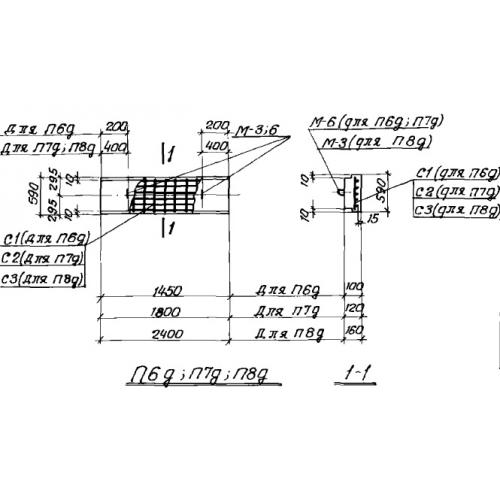
П 6 д плиты перекрытия

Чертеж изделия:
Характеристики изделия:
ПараметрЗначение
длина590 мм
ширина1450 мм
высота100 мм
масса230 кг
нормативный документСерия ИС 01-04

П 6 д  Плиты перекрытия доборные по Серии ИС 01-04.