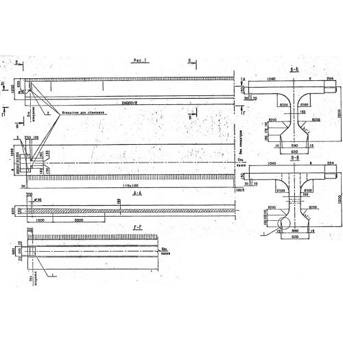
Б 2400.194.120 балка пролетного строения

Чертеж изделия:
Характеристики изделия:
ПараметрЗначение
длина24000 мм
ширина1940 мм
высота1200 мм
вес38200 кг
серия3.503.1-81

Б 2400.194.120  Балки пролетных строений по серии 3.503.1-81.