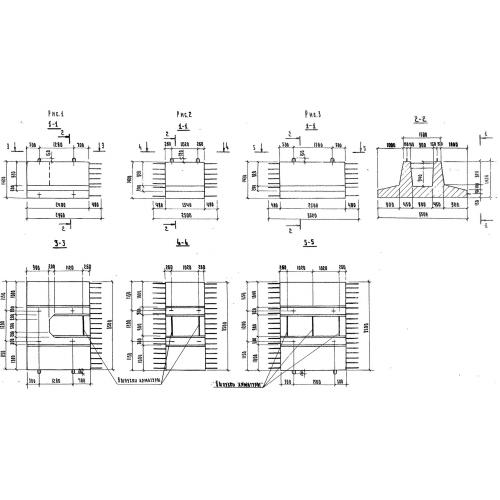
ФП-2

Чертеж изделия:
Характеристики изделия:
ПараметрЗначение
длина3520 мм
ширина3500 мм
высота1420 мм
вес14500 кг
серия3.503.1-53

ФП-2 Блоки фундамента промежуточные по серии 3.503.1-53.