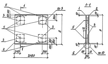
ПДУ 190.210.14 плиты днища

Чертеж изделия:
Характеристики изделия:
ПараметрЗначение
длина1870 мм
ширина2080 мм
высота140 мм
масса1350 кг
нормативный документСерия 3.006.1-8

ПДУ 190.210.14  Плиты днища каналов угловые Серия 3.006.1-8.