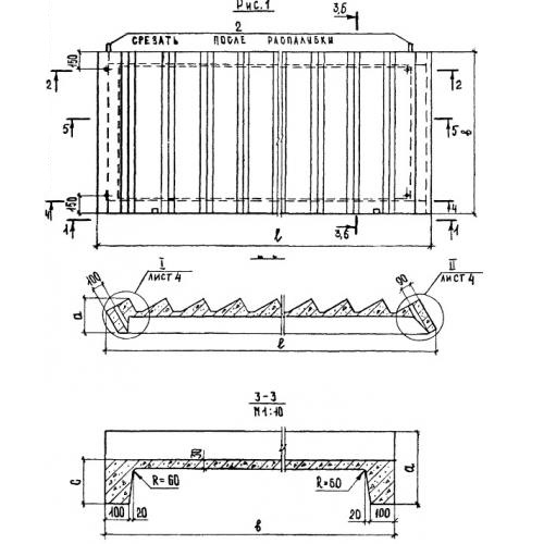
ЛМФ 49.17.21 Лестничные марши с фризовыми ступенями

Чертеж изделия:
Характеристики изделия:
ПараметрЗначение
длина4946 мм
ширина1650 мм
высота2100 мм
масса2230 кг
нормативный документСерия 1.251.1-4

ЛМФ 49.17.21  Лестничные марши ребристые с фризовыми ступенями Серия 1.251.1-4.