ПК 54.10 Плиты перекрытия железобетонные многопустотные

Чертеж изделия:
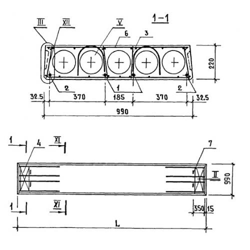
Характеристики изделия:
ПараметрЗначение
длина5380 мм
ширина990 мм
высота220 мм
масса1575 кг
нормативный документСерия 1.141-1

ПК 54.10  Плиты перекрытия железобетонные многопустотные Серия 1.141-1.