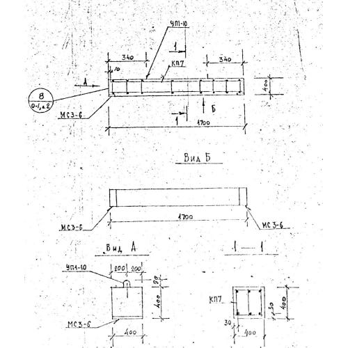
Б 17

Чертеж изделия:
Характеристики изделия:
ПараметрЗначение
длина1700 мм
ширина400 мм
высота400 мм
вес680 кг
серия1.125 КЛ-3

Б 17 Балки по серии 1.125 КЛ-3.