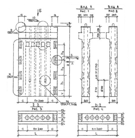
1ВД 12-20

Чертеж изделия:
Характеристики изделия:
ПараметрЗначение
длина1180 мм
ширина405 мм
высота1970 мм
масса1208 кг
нормативный документСерия 1.034.1-1

1ВД 12-20  Вентиляционные блоки-диафрагмы жесткости с одной консолью (Серия 1.034.1-1).