ВБ 9.12.24

Чертеж изделия:
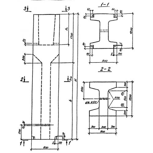
Характеристики изделия:
ПараметрЗначение
длина900 мм
ширина1200 мм
высота2390 мм
вес5100 кг
серия0-221-84

ВБ 9.12.84 Блоки-стаканы верхние по серии 0-221-84.