С 40.2
Характеристики изделия:
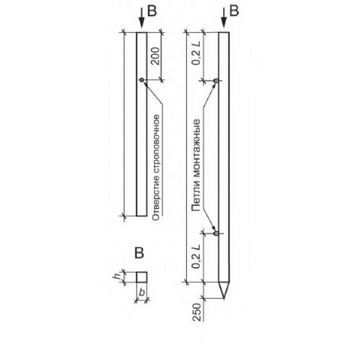
| Параметр | Значение |
|---|---|
| длина | 4000 мм |
| ширина | 200 мм |
| высота | 200 мм |
| масса | 400 кг |
| нормативный документ | ГОСТ 24155-2016 |
Цена:
Рассчитать стоимостьС 40.2 Стойки по ГОСТ 24155-2016.
| Параметр | Значение |
|---|---|
| длина | 4000 мм |
| ширина | 200 мм |
| высота | 200 мм |
| масса | 400 кг |
| нормативный документ | ГОСТ 24155-2016 |
С 40.2 Стойки по ГОСТ 24155-2016.
