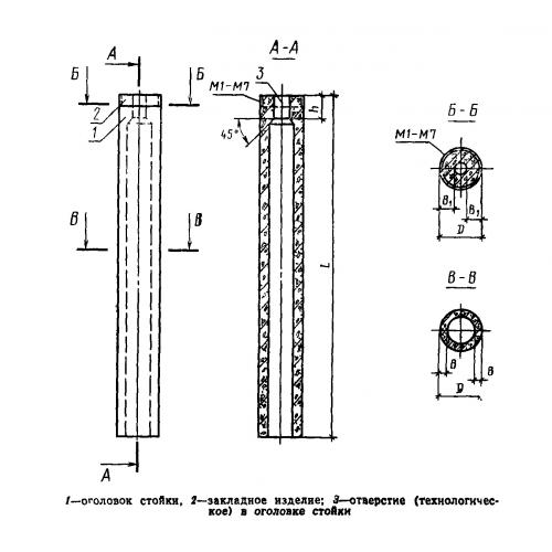
С 8-138-10К3

Чертеж изделия:
Характеристики изделия:
ПараметрЗначение
длина13800 мм
ширина800 мм
высота800 мм
масса8000 кг
нормативный документГОСТ 23444-79

С 8-138-10К3  Стойки железобетонные центрифугированные кольцевого сечения для производственных зданий и инженерных сооружений ГОСТ 23444-79.